1. Valve body spherodization rate 3, tensile strength 450Mpa, elongation greater than 10%
2. The spool can be installed after grinding with pure copper accessories
3. Valve body and internal parts are CNC precision machine tool processing, high precision
4. Pipe made of brass or stainless steel
5. The valve body is electrostatic coated with powder epoxy resin, and the spraying thickness reaches 250μm
6. Each valve is manufactured in accordance with national standards for shell and seal double-layer pressure detection
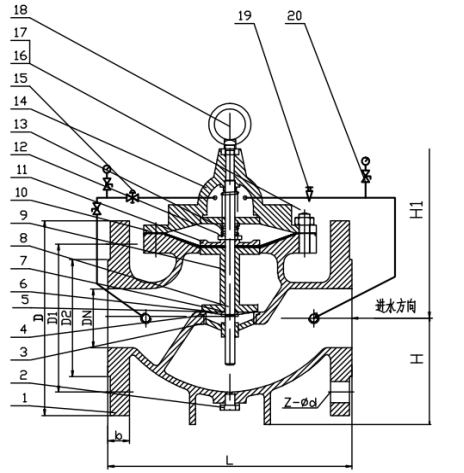
Size Range:DN50-600
Pressure: PN10/16/25/150LB
Body Material:DI
Seat Material:Copper Alloy
Disc Material:DI
Stem Material:2Cr13
Flanged Material:DI
Features: 200X relief valve is a valve that uses the energy of the medium itself to adjust and control the pressure of the pipeline. 200X relief reducing valve is used in domestic water supply, fire water supply and other industrial water supply systems. By adjusting the pressure reducing pilot valve, the outlet pressure of the main valve can be adjusted. The outlet pressure does not change due to the change of the inlet pressure and the inlet flow rate, and the outlet pressure is maintained at the set value safely and reliably, and the set value can be adjusted according to the need to achieve the purpose of decompression. Precise decompression, stable performance, easy installation and adjustment, long service life.







