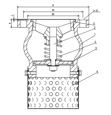
The valve body adopts QT450-10 material, spheroidization rate 3, stronger mechanical properties, tensile strength 450Mpa, elongation of more than 10%;
The valve body and internal parts are processed by precision CNC machine tools to ensure accuracy;
The sealing is made of EPDM rubber, the rubber content is more than 40%;
The filter screen and spring are made of 304 stainless steel;
The appearance of epoxy resin spraying, spraying thickness of 250μm;
Each valve has undergone strict pressure testing.
Size Range:DN50-DN400
Pressure: PN16
Body Material:DI
Seat Material:EPDM
Disc Material:DI+EPDM
Stem Material:2Cr13
Flanged Material:DI







