1. Adopting precision casting process, the material performance of the valve body meets the national standards;
2. The valve body adopts the structure suitable for lining process requirements, and the valve body and inner parts in direct contact with the medium are all lined with fluorine plastic;
3.The seal is PTEF or other material combination, small friction coefficient, low opening and closing moment;
4. PTFE packing has good sealing performance, easy maintenance and replacement;
5. Elastic gate wedge can compensate the sealing surface deviation, with good sealing effect and zero leakage.

Parameter Information:
1. Executive standard:
| Name | Design and manufacture | Face to face Length | Pressure Test | End Flange |
| Reference standard | GB/T 12234 | GB/T 12221 | GB/T 13927 | HG/T 20592 |
2. Material of Main Parts:
| Name | Body | Wedge | Stem | Packing | Gland |
| Material | CS | WCB+FEP | WCB | PTFE | WCB/CF8 |
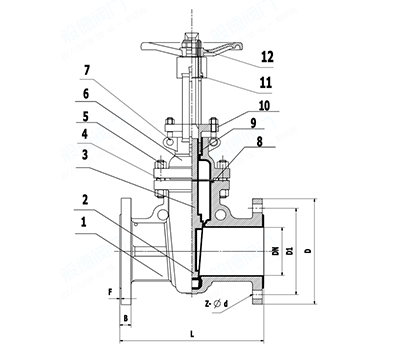
3. Dimensions:
| SIZE |
|
|
| DN | NPS | L | ΦD | ΦD1 | n-Φd |
| 25 | 1'' | 160 | 115 | 85 | 4-14 |
| 32 | 1 1/4'' | 180 | 140 | 100 | 4-18 |
| 40 | 1 1/2'' | 240 | 150 | 110 | 4-18 |
| 50 | 2'' | 250 | 165 | 125 | 4-18 |
| 65 | 2 1/2'' | 265 | 185 | 145 | 8-18 |
| 80 | 3'' | 280 | 200 | 160 | 8-18 |
| 100 | 4'' | 300 | 220 | 180 | 8-18 |
| 125 | 5'' | 325 | 250 | 210 | 8-18 |
| 150 | 6'' | 350 | 285 | 240 | 8-22 |
| 200 | 8'' | 400 | 340 | 295 | 12-22 |
| 250 | 10'' | 450 | 405 | 355 | 12-26 |
| 300 | 12'' | 500 | 460 | 410 | 12-26 |
| 350 | 14'' | 550 | 520 | 470 | 16-26 |
| 400 | 16'' | 600 | 580 | 525 | 16-30 |
| 450 | 18'' | 650 | 640 | 585 | 20-30 |
| 500 | 20'' | 700 | 715 | 650 | 20-33 |